Vertakkingen in excentrisch ontwerp

Vooral bij het vervangen van riooldoorsneden die hydraulisch niet meer voldoen door grotere nominale diameters, blijven de knelpunten van de huisaansluitingen intact. Indien er aansluitingen achteraf zijn of slecht uitgevoerde aansluitingen met laagliggende inlaten op het hoofdriool, kunnen deze worden vervangen door het aanbrengen van excentrische (reparatie)aftakkingen met gladde uiteinden. Hier zijn verbindingsmogelijkheden nodig die flexibel omgaan met de verbindingssituaties. Zo kan waardevolle "hoogte" worden gewonnen.

Wij bieden op maat gemaakte fittingen in het nominale breedtebereik van DN 250 tot DN 800 met inlaataansluitingen in DN 150/200/250 afhankelijk van de nominale breedte. Speciale gevallen van grotere nominale breedtes kunnen indien nodig ook worden gecoördineerd. De inlaat wordt loodrecht op de hoofdleidingas vervaardigd in een ontwerp van 90° graden. Voor aftakkingen tot DN 350 is op speciaal verzoek ook een uitvoering onder 45° mogelijk.

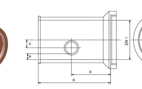
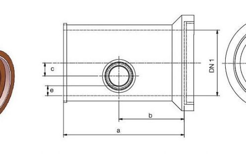
De takken kunnen worden vervaardigd in 4 varianten met variabele afmeting "e''. De verbindingsstukken kunnen worden uitgevoerd met een mof of met een glad uiteinde. Let bij moffentakken op het onderscheid tussen rechter- en linkertakken (gezien in de stroomrichting). Takken met gladde uiteinden worden geïnstalleerd met hulsafdichtingen. Mofvertakkingen hebben een afdichtingssysteem C met "K"-afdichtingen van PU.

Aansluitsysteem inlaat met mof:

DN 150 L-dichting (systeem F) / DN 200 L-dichting of K-dichting (systeem C) / vanaf DN 250 K-dichting

Klassen van inlaatbelasting:

Vanaf DN 200 kunnen de inlaten worden ontworpen in normale of hoge belasting. Opties voor inlaataansluitingen: huisaansluitingen in een groot aantal materiaaluitvoeringen kunnen worden aangesloten met behulp van geschikte adapters/kraagstukken.

DN 1
FN
(kN/m) N/H
DN 2 a
cm
b
cm
250 40 (N) 150 60 30
250 60 (H) 150 60 30
300 48 (N) 150/ 200 60 30
300 72 (H) 150/ 200 60 30
350 56 (N) 150/ 200 75 37,5
400 64 (N) 150/ 200/ 250 75 37,5
400 80 (H) 150/ 200/ 250 75 37,5
500 60 (N) 150/ 200/ 250 75 37,5
500 80 (H) 150/ 200/ 250 75 37,5
600 57 (N) 150/ 200/ 250 75 37,5
600 96 (H) 150/ 200/ 250 75 37,5
700 112 (H) 150/ 200/ 250 100 50
800 96 (H) 150/ 200/ 250 100 50

Ontwerpvarianten

Afbeelding 1: Ontwerp: Hoofdleiding met mof / inlaat met mof

Afbeelding 2: Ontwerp: Hoofdleiding met mof / inlaat glad afgewerkt

Afbeelding 3: Ontwerp: Hoofdleiding met gladde uiteinden / Inlaat met mof

Afbeelding 4: Ontwerp: hoofdleiding met gladde bocht / inlaat met gladde bocht

benor

Zowel voor openbare als voor particuliere projecten is het BENOR-label de belangrijkste kwaliteitsgarantie voor uw bouwmaterialen. Ga naar de BENOR attesten voor de gres producten. 

Aerial view of construction site with symbols in hexagons appearing as overlay.
Aerial view of construction site with symbols in hexagons appearing as overlay.

Contacteer ons

Een vraag of verzoek? We helpen u graag verder!

Email

Een vraag of specifiek verzoek?

Klik hier voor onze contactgegevens

Downloads

Vind hier de meest gevraagde downloads.

Downloads
Heeft u niet gevonden wat u zocht?

Online catalogus

Ontdek ons gamma.